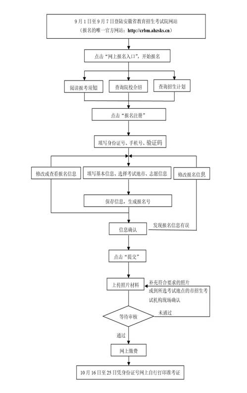
一、安徽省2020年成人高校招生考试报名工作实行网上报名、网上确认和网上缴费。网上报名时间为9月1日-9月7日(8:00-22:00)。网上缴费截止时间为9月12日22:00。逾期不再办理。网上报名的唯一官方网址为:crbm.ahzsks.cn,其它任何网址都不具有合法性,请各级招生考试机构、各成人高校认真做好有关宣传和准备工作,确保报名考试工作顺利进行。请广大考生在报名前仔细甄别网址真伪,若因误登其他网址而耽误报名考试的,责任由考生自负。
二、根据教育部有关文件规定:国家承认学历的各类高、中等学校在校生一律不得参加报考。报考考生原则上应年满18周岁(截至2020年12月31日)。
三、报名采用考生身份证号码和手机号码唯一性认证,一个身份证号码需绑定一个手机号码且只能报名一次,考生需通过发送的手机验证码完成注册程序。广大考生应保证手机号码真实、有效,确保通信畅通,如因手机无法联络造成的责任由考生自负。
四、所有考生在网报系统中注册成功后,需按照网页提示,准确填报个人基本信息和报考学校、专业志愿等信息。完毕后进行信息确认(报名信息一经确认,不得更改),上传有关材料。上传材料包括本人证件照、有效居民身份证原件人像面和国徽面照片、手持身份证照片等。报考专升本层次的考生还需上传毕业证书照片,持外省身份证的考生还需上传户口本或社保证明等材料照片。
特别提醒,本人证件照将作为本人准考证唯一使用照片,用于报名和考试期间与公安户籍人像比对、审核等,因上传不符合要求的照片而影响报名和考试的,责任由考生自负。(具体要求详见公告二:2020年安徽省成人高校招生考试网上确认须知)
五、考生缴费须在网上确认审核通过后进行。网上支付为考试报名费唯一支付方式,考生必须在规定时间内完成报名缴费手续,考试费用缴纳成功,表示报名完成。未缴费的考生,不得参加考试。报名费缴纳后一般不予退费,确因支付系统或报名系统出现问题导致重复缴费等情况,经核实后予以退费。
依据安徽省物价局、财政厅有关文件精神,我省执行的成人高校招生报名考试收费标准为:每生120元。
六、报考专科起点升本科考生,必须具有国民教育系列高等学校或高等教育自学考试机构颁发的大学专科(及以上)毕业证书。在报名系统中须上传毕业证书或学信网学历认证报告,2021年春季毕业的应届专科毕业生须上传所在学校出具的《毕业生证明》进行报名。所传材料仅作为制作考生电子档案使用,故考生必须签订有效文凭保证书,保证毕业证书(证明)真实有效。否则因不符合报考条件造成录取后无法注册学籍的,责任由考生自负。
持外省身份证的考生:户籍系我省的,须上传户口本照片;户籍系外省在皖工作的,须上传居民居住证照片或近三个月的缴纳社会保险凭证(社保机构盖章)或缴纳个人所得税凭证(税务部门盖章)的照片等证明材料。
七、树立“诚信考试光荣、违纪作弊可耻”的考试理念和文明风尚。参加全国成人高校招生统一考试的考生,在考前要认真阅读《国家教育考试违规处理办法》、《中华人民共和国刑法修正案(九)》等有关内容并签订《考生诚信考试承诺书》,了解考场规则和考试违规处理办法。《刑法修正案(九)》对于考试犯罪做了明确规定,包括代替考试罪,非法出售、提供试题、答案罪及组织考试作弊罪三项罪名。省教育招生考试院郑重提醒广大考生要增强法律意识,诚信应考,不要触犯《刑法修正案(九)》有关条文。
八、我省成人高考实行网上打印准考证,考生可在规定时间登陆网上报名系统打印准考证,打印时间为2020年10月16日-25日,准考证正反两面在使用期间不得涂改,考生凭下载打印的准考证及有效居民身份证参加考试。
安徽省2020年成人高校全国统一招生考试(以下简称成人高考)网上报名工作将于9月1日—9月7日进行。为切实方便考生,落实疫情防控常态化要求,经研究决定,我省2020年成人高考试行网上确认。现将有关事项公告如下:
一、成人高考网上信息确认安排
1、网上确认对象
所有在安徽省报考成人高考的考生。报名工作由网上报名、网上确认和网上缴费三部分组成,网上确认审核通过的考生,还必须在规定时间内进行网上缴费、网上打印准考证等后续工作。
2、时间安排
网上报名、上传相关材料时间为9月1日-9月7日(8:00-22:00)。网上审核不通过,需要补交材料的截止时间为9月10日17:00。网上缴费截止时间为9月12日22:00。逾期不再办理。
请考生务必在规定时间内登录网上报名系统上传相关材料。上传材料包括本人证件照(准考证照)、有效居民身份证原件人像面和国徽面照片、手持身份证照片等。报考专升本层次的考生还需毕业证书(证明)照片,外省身份证的考生还需户口本或社保证明等材料照片。网上确认仅支持PC端,请考生准备好相关材料电子版。
二、网上报名确认流程
三、审核结果的反馈
1、各市招生考试机构负责对考生进行网上审核。考生提交确认材料后,各市招生考试机构将所传照片与公安户籍等系统进行人像比对,结果将作为审核考生报考资格的依据。
2、网上确认期间,请考生及时关注网上报名系统对审核结果的反馈提示,并保持手机通信畅通。一般情况下,考生上传材料结束后,网上确认结果将在36小时内通过报名系统反馈(单日提交材料考生人数过多及特殊情况除外)。
3、审核结果为“通过”的考生,即完成网上信息确认,不需再到现场审核,并请立即缴纳报考费用。
4、审核结果为“未通过”的考生,请在36小时内登录网上报名系统及时补充符合要求的材料或根据要求持相关材料到网上报名时选择的考试地点所在市招生考试机构进行现场审核确认。
四、注意事项
1、特别提醒:考生须保证本人符合所报专业的报名条件和要求,所填写和提供的个人信息、证明材料、证件等真实、准确、有效。如因不符合报名条件和要求或提供虚假材料,导致不能考试、录取、学籍注册的,责任由考生自负。
2、考生应于规定时间完成相关材料的上传,逾期不再补办。并及时关注网上确认系统对审核结果的反馈提示,以免因审核不通过没有充足的时间准备补充材料而错失报名时间。
3、网上缴费截止时间为9月12日22:00,考生须在此时间之前登录报名系统进行网上缴费。未在规定时间内缴费视为报名无效,不得参加考试。
4、报名期间咨询电话另行公布。
网上确认所需上传材料及相关要求
考生在规定时间进入网上信息确认界面,上传本人证件照片(准考证照片)、身份证(人像面和国徽面)照片、手持身份证照片及其它相关材料照片等手续。具体材料照片要求如下:
1、本人证件照片。上传本人近三月内正面、免冠、无妆、彩色电子证件照,照片要求见下图:

2、本人有效居民身份证原件人像面和国徽面照片,照片要求身份证边框完整,字迹清晰可见,亮度均匀。
3、本人手持身份证照片,照片要求见下图:

4、报考专升本层次的考生
上传大学专科(及以上)毕业证书或学信网学历认证报告照片。2021年春季毕业的应届专科毕业生拍照上传所在学校出具的《毕业生证明》照片。
5、外省身份证的考生
户籍系我省的,须上传户口本照片;
户籍系外省在皖工作的,须上传居民居住证照片或近三个月的缴纳社会保险凭证(社保机构盖章)或缴纳个人所得税凭证(税务部门盖章)的照片等证明材料。
请务必谨慎上传符合上述全部要求的照片,否则会影响审核。
答题卡填涂说明
安徽省成人高考所有科目全部实行网上评卷,考生在参加考试前应仔细阅读《答题卡填涂说明》,因不按规定参加考试、不按规范答题所造成的责任由考生自负。
为了能正确填涂答题卡,请考生了解以下注意事项:
1. 考生须用0.5毫米的黑色墨水签字笔在规定的时间内,在答题卡指定位置准确清楚地填写姓名、座位号,字迹要清晰工整。并将姓名、座位号后两位填写在答题卡背面左上角的书写框内,每个书写框只能填写一个阿拉伯数字。
2. 不可填涂答题卡上的缺考标记。
3. 答题须在专用的“答题卡”上进行,在与题号相对应的答题区域内答题。在试题卷、草稿纸或非题号对应的答题区域的答案一律无效。
4. 考生拿到条形码后,仔细核对条形码上的信息是否与个人信息相符,如有不符必须立即向监考员汇报。
5. 选择题答案必须用2B铅笔填涂(修改用橡皮轻擦干净),非选择题必须用0.5毫米黑色墨水签字笔书写,作图题可先用铅笔绘出,确认后再用0.5毫米黑色墨水签字笔描清楚。严格按答题要求在对应的题号答题区域内作答,切不可超出黑色矩形边框,否则答案无效。
6. 保持答题卡纸面清洁,切勿使答题卡折叠、破损、潮湿,严禁在答题卡的条形码上和图像定位点(黑方块)周围做任何涂写和标记。严禁使用涂改液、修正带。